Loop Couplers For Waveguide |
|---|
SMA and Type-N Waveguide Loop Couplers
Narda-MITEQ manufactures waveguide loop couplers covering a wide frequency range. Multiple flange and coaxial connector types and configurations are available.
Our loop couplers are ideal for RF microwave applications where high power sensing is desired. These single arm waveguide loop couplers are available with SMA or Type-N connectors. Multi arm models are also available.
Rectangular waveguide loop couplers cover the full waveguide frequency with standard coupling values of 30db, 40db, 50db, and 60db, however other options are available upon request.
Double ridge waveguide loop couplers are also available. Pressure sealed loop couplers are also available for microwave applications that require sealed systems. For more information feel free to call us and discuss your needs with one of our design engineers.
|
GENERAL SPECIFICATIONS ● Full waveguide frequency range |
|
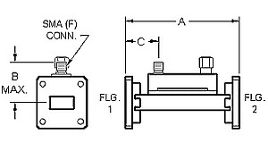
| Waveguide Loop Coupler - SMA (F) | ||||||||
|---|---|---|---|---|---|---|---|---|
|
||||||||
| Standard Models | ||||||||
| WG Size | Freq GHz | Basic Model No.* SMA (F) |
Dim A (Inches) |
Dim B max. (Inches) |
Dim C (Inches) |
Outline Drawings |
||
| WR430 | 1.70 - 2.60 | 430-307A-dB-2-2 | 4.5 | 1.87 | 1.63 | |||
| WR340 | 2.20 - 3.30 | 340-307A-dB-2-2 | 4.5 | 1.75 | 1.63 | |||
| WR284 | 2.60 - 3.95 | 284-307A-dB-6-6 | 4.5 | 1.69 | 1.63 | |||
| WR229 | 3.30 - 4.90 | 229-307A-dB-2-2 | 4.0 | 1.58 | 1.38 | |||
| WR187 | 3.95 - 5.85 | 187-307A-dB-6-6 | 3.5 | 1.44 | 1.13 | |||
| WR159 | 4.90 - 7.05 | 159-307A-dB-2-2 | 3.5 | 1.40 | 1.13 | |||
| WR137 | 5.85 - 8.20 | 137-307A-dB-2-2 | 3.0 | 1.32 | 0.88 | |||
| WR112 | 7.05 - 10.0 | 112-307A-dB-6-6 | 3.0 | 1.25 | 0.88 | |||
| WR90 | 8.20 - 12.4 | 90-307A-dB-6-6 | 3.0 | 1.19 | 0.88 | |||
| WR75 | 10.0 - 15.0 | 75-307A-dB-6-6 | 3.0 | 1.18 | 0.88 | |||
| WR62 | 12.4 - 18.0 | 62-307A-dB-6-6 | 3.0 | 1.14 | 0.88 | |||
| WR51 | 15.0 - 22.0 | 51-337A-dB-6-6*** | 3.0 | 0.96 | 0.50 | |||
| WR42 | 18.0 - 26.5 | 42-337A-dB-6-6*** | 3.0 | 0.75 | 0.50 | |||
| WR34 | 22.0 - 33.0 | 34-337A-dB-6-6*** | 3.0 | 0.71 | 0.50 | |||
| WR28 | 26.5 - 40.0 | 28-337A-dB-6-6*** | 3.0 | 0.67 | 0.40 | |||
|
* Insert desired coupling value (30, 40, 50 or 60dB) in the model number where dB is listed |
||||||||
|
* The Standard Model Numbers above are the most common parts ordered for size, material and flange. However, these models can easily be altered for your needs by using the Model # code system to the left. ** Customer must choose the coupling value appropriate for application (30dB, 40dB, 50dB or 60dB) and insert it in the model number where dB is listed *** 337 Models not available with 7=Choke Flange **** WR340 & WR430 available in Aluminum Only Option: Add /PT to part number for pressure sealed unit to 15 psi. |
||||||||||||||||||||||||||||||||||||||||||||||||||||||||
|
For a dual unit modify the P/N by adding a D to the end of the basic model #, the direction of the coupling and the coupling value of the second coupling arm. Example: 90-307A-dB-6-6 now becomes: 90-307AD-dBF-dBR-6-6 |
|||||||||||||||||||||||||||||||||||||||||||||||||||||||||
| Waveguide Loop Coupler - Type-N (F) | ||||||
|---|---|---|---|---|---|---|
|
|
![]() |
|||||
| Standard Models | ||||||
| WG Size | Freq GHz | Basic Model No. Type-N (F)* |
Dim A |
Dim B (Inches) |
Dim C (Inches) |
Outline Drawings |
| WR430 | 1.70 - 2.60 | 430-308A-dB-2-2 | 4.5 | 2.50 | 1.63 | |
| WR340 | 2.20 - 3.30 | 340-308A-dB-2-2 | 4.5 | 2.30 | 1.63 | |
| WR284 | 2.60 - 3.95 | 284-308A-dB-6-6 | 4.5 | 2.20 | 1.63 | |
| WR229 | 3.30 - 4.90 | 229-308A-dB-2-2 | 4.0 | 2.09 | 1.38 | Dwg |
| WR187 | 3.95 - 5.85 | 187-308A-dB-6-6 | 3.5 | 1.95 | 1.13 | |
| WR159 | 4.90 - 7.05 | 159-308A-dB-2-2 | 3.5 | 1.91 | 0.88 | |
| WR137 | 5.85 - 8.20 | 137-308A-dB-2-2 | 3.0 | 1.83 | 0.88 | |
| WR112 | 7.05 - 10.0 | 112-308A-dB-6-6 | 3.0 | 1.76 | 0.88 | Dwg |
| WR90 | 8.20 - 12.4 | 90-308A-dB-6-6 | 3.0 | 1.70 | 0.88 | Dwg |
| WR75 | 10.0 - 15.0 | 75-308A-dB-6-6 | 3.0 | 1.66 | 0.88 | Dwg |
| WR62 | 12.4 - 18.0 | 62-308A-dB-6-6 | 3.0 | 1.62 | 0.88 | |
|
* Insert desired coupling value (30, 40, 50 or 60dB) in the model number where dB is listed |
||||||
|
* The Standard Model Numbers above are the most common parts ordered for size, material and flange. However, these models can easily be altered for your needs by using the Model # code system to the left. ** Customer must choose the coupling value appropriate for application (30dB, 40dB, 50dB or 60dB) and insert it in the model number where dB is listed *** 337 Models not available with 7=Choke Flange **** WR340 & WR430 available in Aluminum Only Option: Add /PT to part number for pressure sealed unit to 15 psi. |
||||||||||||||||||||||||||||||||||||||||||||||||||||||||
|
For a dual unit modify the P/N by adding a D to the end of the basic model #, the direction of the coupling and the coupling value of the second coupling arm. Example: 90-308A-dB-6-6 now becomes: 90-308AD-dBF-dBR-6-6 |
|||||||||||||||||||||||||||||||||||||||||||||||||||||||||





